We will present the performance, safe operation methods, and technical parameters of ZGS-12 Pad Mounted Transformer

1. General provisions
This manual is used to assist engineers and technicians in the installation, use and operation of combined transformers (hereinafter referred to as combinators).
The combined transformer produced by our factory is a fully insulated, fully sealed, waterproof three-phase distribution transformer for benchtop installation, which is suitable for the three-phase distribution system with a rated voltage of 10KV. Meet the requirements of the corresponding national standards
This manual is not a subscenium for the general operating procedures of electrical equipment, nor can it meet all the requirements of installation, use and operation. These tasks should be carried out with personnel familiar with the safety and operating procedures of the power system
2. Use conditions and environment
a. Altitude: no more than 1000M.
b. Ambient temperature: -25C to 40C
c. Relative humidity: not more than 95% (daily average).
d. Ground inclination: no exercise 3.
e. Wind speed: no more than 35m/s.
Indoor and outdoor places without violent shock and vibration, no serious pollution and chemical corrosion media, and no explosion hazard.
3. Main technical parameters
serial number | name | unit | High pressure side | transformer | Low pressure side |
1 | Rated voltage | KV | 10 | 0.4 | |
2 | Maximum operating voltage | KV | 12 | ||
3 | Rated capacity | KVA | 50-2500 | ||
4 | Rated current | A | 10-630 | 100-2500 | |
5 | Withstand current for a short time | KA | 12.5/20 | 12.6-40 | |
6 | Short tolerance time | S | 2 | 1 | |
7 | Peak withstand current | KA | 50 | 30-60 | |
8 | Power frequency withstand pressure | KV | 35 | 35 | 5 |
9 | Lightning impact withstand pressure | KV | 75 | 75 | |
10 | High-voltage current-limiting fuses quickly cut off the current | KA | 50 | ||
11 | Protection level | Ip33 | Ip65 | Ip33 | |
12 | Noise level | db | W55 | ||
13 | Rated frequency | Hz | 50/60 |
4. Unpacking acceptance inspection
Check the product for damage, deformation and breakage. Check whether the accessories and special tools are complete according to the packing list, and install according to the installation requirements after confirming that they are correct.
5. Installation
A. The assembly is installed on a concrete base with a height of 100-400mm from the ground that is sufficient to bear the weight of the assembly. The recommended size diagram of the assembly size and base is shown in Appendix 1.
B. The cable is placed before the group is in place and must be without electricity.
C. There is a hook for loading and unloading near the top of the box, and the angle between the lifting steel cable and the vertical line cannot exceed 30 when stretched. If necessary, the crossbar should be used to support the steel cable to avoid deformation of the structure or the lifting hook. Most of the weight of the assembly transformer is concentrated in the main box containing the iron core, winding and insulating oil, and most of the high and low voltage terminal boxes are empty, and the weight is relatively light. (Improper use of hooks or cranes may cause damage to the assembly or other accessories, or cause injury to personnel.) )
Notice: If the group transformer cannot be lifted by crane, it can be slid with a skateboard or roller. When supporting the box and inserting the roller below, at least two jacks are required, and the adjacent two angles should be lifted smoothly at the same time to avoid deformation of the bottom of the box. The jack can only be placed on the corners of the bottom of the box, and a backing plate should be added, and the jack should not be placed under the heat sink, valve or thin steel plate. If rollers are used, the number should be appropriate and the weight of the box should be carried equally. Before pulling the transformer, install pull rings on both sides of the bottom of the box transformer. Do not attach the cable to the regrouped casting or other sheet metal parts.
D. Installation site
There are two types of insulating oil in the composition, one is high-ignition point oil and the other is high-quality mineral oil. The group transformer with high ignition oil (with obvious signs in the low-voltage isolation room of the group transformer) can be used in the building or outdoors; The composition of mineral oil cannot be used in buildings. The freezing point of high-quality mineral oil is -45. Hereinafter; The freezing point of high-ignition oil is -30. 1. The combination of high-ignition oil cannot be used in areas with an ambient temperature lower than -30°C. Whether it is a combination of high-quality mineral oil or high-ignition oil, if it is put into operation when the ambient temperature is lower than -20°C, it needs to be run for 24 hours without a load for preheating and then gradually loaded. If in doubt, please contact our factory.
6. Handover test
After the installation is completed, connect the test cable plug (the test cable plug can be purchased as an option), and conduct the handover test according to the relevant test procedures of the national standard.
7. Installation precautions
A. When accessing the system
Before wiring any system, ground the box first. The grounding terminal of the box must be connected to a fixed, low-impedance grounding point.
Before wiring, clean all sleeves, bushings, terminal terminals and contacts, and clean all dust, oil and foreign objects. Connecting the neutral point of the group change and the neutral point of the system.
Install accessories as required to ensure the insulating oil is at the appropriate height.
When no one is on duty, close and lock the box door.
8. When operating
☆ Under normal circumstances, the operation of inserting the fuse should be carried out after the power is cut off, and the relevant operation instructions should be read carefully before operation.
☆ The internal load switch can only be used to interrupt the rated current, but not to disconnect the fault current.
☆ Insulated operating lever must be used to operate the load switch.
C. When maintenance is required
☆ The group transformer cannot be overhauled while the system is running. Before maintenance, it should be insulated, power off and completely isolated from the group transformer.
☆ Operate the plug-in fuse, open the oil injection valve and release the internal pressure of the transformer (pull out the pressure relief valve) before opening the oil tank, and do not perform the above operations before the internal pressure is zero.
Warning: The released gas may be flammable, so be careful when releasing it.
Do not open the lid of the box of the group transformer unless it is absolutely necessary. Before opening, clean the area around the lid and close it in the shortest possible time to prevent moisture and dust from entering the box. Do not turn on the group change in wet or rainy weather.
8. Operation
A. Inspection before commissioning
☆ Check whether the cable joints are connected as required, and whether the casing joints and elbow plugs are connected in place;
☆ All cable joints and the grounding wire of the box must be connected to a stable, low-impedance grounding point;
☆ After confirming that there is no problem, it can be put into operation;
☆ Before the group transformer is put into operation, the oil level height in the box must be checked, and the oil level height should be read directly from the oil level gauge, and the oil level should be at the indicated position of the oil level gauge at 25°C at 25°C.
Note: Before putting the group change into operation, you should have an in-depth understanding of the group change. Make sure you are familiar with the applications and functions of all equipment and accessories. Please wear protective clothing and necessary protective equipment during operation, and use insulated operating levers when grounding, testing, isolating or closing the equipment. When the regroup state cannot be determined, it is treated as a live treatment.
B. Preparation for commissioning
a. Refill oil
When needed, oil should be replenished in a timely manner
☆ Use pumps and hoses that are not contaminated; Do not use rubber hoses. Because the oil will dissolve the sulfur contained in it, metal or non-rubber hoses should be used.
☆ Connect the oil outlet pipe of the oil pump to the oil injection port of the oil tank.
☆ Pump the oil back from the bottom of the sealed temporary container, taking care not to let the oil inlet pipe draw in air.
☆ To prevent high-speed oil flow inflation, pump slowly until the oil level is required.
b. Grounding
The dedicated ground on the transformer enclosure must be connected to a permanent grounding point.
c. High-voltage wiring
☆ The assembly is equipped with a universal high-voltage casing socket. Single-pass or double-pass sleeves that are matched with the casing socket need to be plugged in the field. The installation method of single-pass and double-pass sleeve is shown in Appendix 3.
☆ Install the toggle cable plug on the high-voltage wiring cable according to the installation method described in Appendix 4, and then insert the toggle plug into the single or double pass sleeve.
d. Low voltage wiring
There are three-phase and neutral wire terminals on the assembly transformer for connecting low-voltage cables.
Notice: The group can only operate at the rating specified on the nameplate, and long-term overload operation will significantly affect the life expectancy. If the group is stored outdoors for too long, oil samples must be taken to check the moisture content and dielectric strength. When the group leaves the factory, there is generally a low vacuum above the oil surface in the box (the pressure gauge shows negative pressure), which may change with the change of operation or environment under normal circumstances, if the pressure gauge shows zero pressure for a long time, it indicates that there may be leakage, and further inspection is required.
C. Operational requirements
☆ Before operation, the operating status of the line and the position of the tap-changer should be understood, and the load switch should be in a position disconnected from the transformer;
☆ Understand the purpose and function of all cable glands before operation;
☆ The operator should stand in the best position and use the insulated operating lever to operate the load before the operation.
☆ According to the relevant high-pressure operating regulations, necessary protective equipment must be used to ensure safety.
D. Power transmission
Close the previous level switch, and then turn the load switch to the position of connecting the transformer according to the requirements of 8. 3, and the group transformer will be put into operation.
9. Attachments
A. Tap changer
☆ The group variable tap-changer is a load-free tap-changer, and the tap-changer operation can only be carried out when it is confirmed that the power has been cut off.
☆ The tap-changer has three or five gears, marked by A, B, C, D, and E, and the tap-out range is 10KV±5% or 10KV±2*2. 5%。
☆ The "T" shaped operating handle of the tap-changer is installed on the panel of the high-pressure chamber, before operation, the locking bolt is unscrewed out, and then rotated to the required position, and the locking bolt is tightened after adjustment. To add a lock, you can tighten the locking bolt low and lock it with a padlock.
Note: The group transformer should be powered off before operating the tap-changer, otherwise, it will cause damage to the group and may lead to serious personal injury.
Load switch
☆ The load switch is a three-phase linkage switch with a quick spring operation structure. There are two types: 2 positions and 4 positions. Among them, 2 positions are used for terminal type transformers, and 4 positions are used for ring network type transformers.
☆ The load switch can only be used to interrupt the load current, not the short-circuit current.
☆ Insulated operating rod must be used to operate the load switch.
Insertion fuse
☆ Plug-in fuses provide convenience for replacing fuses from the outside, as shown in Appendix 2 for the method of replacing fuses.
☆ Different capacities of combination, the fuse specifications used are different, so you must pay attention when replacing the fuse. All selected fuse models are marked on the inside of the door of each group transformer high-pressure chamber, and the same type of fuse must be selected when replacing the fuse, and the fuse models selected for box transformers of different capacities are as follows:
capacity | Insertion fuse specification |
100 | 4038108C06 |
125 | 4038108C07 |
160 | 4038108C07 |
200 | 4038108C09 |
250 | 4038108C09 |
315 | 4038108C09 |
400 | 4038108C12 |
500 | 4038108C12 |
630 | 4038108C12 |
800 | 4038108C14 |
1000 | 4000353C16 |
1250 | 4000353C16 |
1600 | 4000353C17 |
D. Cable accessories
Cable accessories: elbow plugs, single-pass sleeves (or double-pass sleeves), single-pass connectors (or double-pass connectors), insulation protective caps, see Appendix 3-5 respectively.
E. Surge arresters
If you need to install a lightning arrester on the group, you can choose a fully insulated elbow type zinc oxide arrester. During installation, the group train adopts a double-pass casing, one end of the double-pass casing is connected to an elbow-type plug, and the other end is connected to a lightning arrester. Surge arrester installation method:
☆ Connect the grounding wire to the system ground.
☆ Use copper wire to connect the grounding end of the arrester with the system grounding.
☆ Use the contact surface of the lubricated arrester provided by this factory.
☆ Use the insulated operating lever to hook the operation hole of the arrester, and insert the arrester into the casing joint with force, and be sure to insert the arrester in place. Notice: The arrester must be removed and reinstalled after the test.
F. Fault indicator and voltage display
See Appendix 6
10. Maintenance
A. External maintenance
Regularly inspect all external surfaces of the composition, and repair it immediately if the coating has accidental bruises, scratches and wear.
B. Internal maintenance
Regularly check whether all accessories and instruments in the high and low pressure chambers of the group are working normally, and check whether there is any leakage in each sealing part.
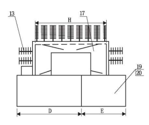
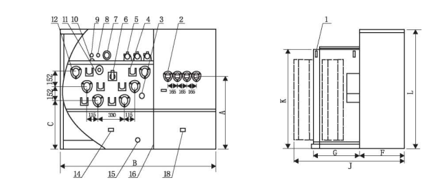
Appendix 1 Combined transformer size and installation
| 1 Hook 11 Oil temperature gauge 2 Low voltage casing 12 High voltage casing socket 3 tap-changer 13 heatsink 4 wall-mounted 14 high-pressure chamber grounding 5 Plug-in fuse 15 Oil drain valve 6 load switches 16 bulkheads 7 Pressure Gauge 17 Fuel Tank 8 Pressure relief valve 18 Grounding of the low pressure chamber 9 Oil injection port 19 High pressure chamber 10 Oil level gauge 20 nameplate |
Figure 1-1 Dimensional diagram of standard ring mesh type and terminal crucian carp combining press
Composition Capacity (kVA). | A | B | C | D | E | F | G | H | J | K | L |
100 | 1030 | 1971 | 680 | 1091 | 880 | 536 | 560 | 1350 | 1176 | 1346 | 1580 |
125 | 1030 | 1971 | 680 | 1091 | 880 | 536 | 560 | 1350 | 1176 | 1346 | 1580 |
160 | 1030 | 1971 | 680 | 1091 | 880 | 536 | 560 | 1350 | 1176 | 1346 | 1580 |
200 | 1030 | 1971 | 680 | 1091 | 880 | 536 | 560 | 1350 | 1176 | 1346 | 1580 |
250 | 1030 | 1971 | 680 | 1091 | 880 | 536 | 560 | 1350 | 1335 | 1346 | 1580 |
315 | 1030 | 1971 | 680 | 1091 | 880 | 536 | 560 | 1350 | 1335 | 1346 | 1580 |
400 | 1030 | 1971 | 680 | 1091 | 880 | 536 | 560 | 1350 | 1335 | 1346 | 1580 |
500 | 1030 | 1971 | 680 | 1091 | 880 | 536 | 560 | 1350 | 1335 | 1346 | 1580 |
630 | 1290 | 2000 | 796 | 963 | 1037 | 660 | 660 | 1440 | 1540 | 1486 | 1710 |
800 | 1290 | 2000 | 796 | 963 | 1037 | 660 | 660 | 1440 | 1675 | 1486 | 1710 |
1000 | 1290 | 2000 | 796 | 963 | 1037 | 660 | 660 | 1440 | 1765 | 1486 | 1710 |
1250 | 1200 | 2205 | 836 | 1158 | 1047 | 660 | 760 | 1440 | 1865 | 1486 | 1710 |
1600 | 1200 | 2205 | 836 | 1213 | 992 | 660 | 800 | 1700 | 1920 | 1526 | 1710 |
Note: (1). The above dimensions are for reference only;
(2). The terminal type and the ring mesh type have the same overall dimensions.
|
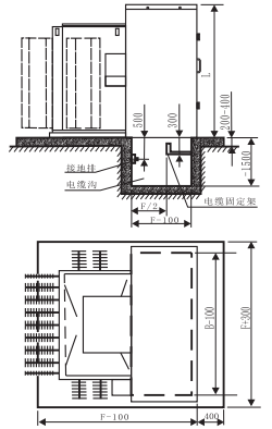
|
Figure 1-3 Schematic diagram of the installation of standard combined transformer | Figure 1-4 Schematic diagram of the installation of the sub-mother combined transformer |

1 Grounding of the low-pressure chamber 2 Low pressure casing 3 Hooks 4 Hyperbaric chamber 5 Fuel tank 6 Heat sink 7 Wall mounting 8 Oil Injection Port 9 Pressure relief valve 10 Oil level gauge | 11 Pressure gauge 12 Load switch 13 Plug-in fuse 14 tap-changer 15 Grounding in the hypervoltic chamber 16 High Voltage Casing Socket 17 Spare Nuts 18 Grounding of the low-pressure chamber 19 Nameplates |
Transformer capacity (KVA). | A | B | F | G | K |
100 | 2000 | 1400 | 660 | 1400 | 730 |
125 | 2000 | 1400 | 660 | 1400 | 730 |
160 | 2000 | 1400 | 660 | 1400 | 730 |
200 | 2000 | 1400 | 660 | 1400 | 730 |
250 | 2000 | 1400 | 660 | 1400 | 730 |
315 | 2000 | 1400 | 660 | 1400 | 730 |
400 | 2000 | 1400 | 660 | 1400 | 730 |
500 | 2000 | 1400 | 660 | 1400 | 730 |
630 | 2205 | 1400 | 800 | 1465 | 755 |
800 | 2205 | 1400 | 800 | 1465 | 755 |
1000 | 2205 | 1400 | 800 | 1465 | 755 |
1250 | 2205 | 1400 | 800 | 1465 | 755 |
Note: (1). The above dimensions are for reference only;
(2). The terminal type and the ring mesh type have the same overall dimensions.
Appendix 2 Plug-in fuses
Pull out the fuse tube
1. Pull out the pressure release valve, and after the pressure in the fuel tank is completely released, hook the fuse pipe operation hole with the insulated operating lever.
2. Push down the operating handle so that the movable hook of the operating handle locks the operating hole of the fuse tube, and rotate the lock hook of the fuse tube by 90° to release the locking state between the fuse tube and the fuse seat.
3. Pull the fuse tube upwards about 100mm, stay for a few seconds, and slowly pull out the fuse tube after the oil on the fuse tube flows.
4. Hold the handle and wipe off the oil stains from the fuse tube.
Note: If oil is found to flow out of the fuse mount, the pressure release valve should be pulled out again to balance the pressure inside and outside the tank.
Replace the fuse
1. Loosen the nut of the fused pipe with a wrench and unscrew the other nut with another wrench. (Picture 2-1)
2. Loosen the end bolts and remove the fuse. (Picture 2-2)
(Note: If the fuse is not fused, the flattened funnel-shaped electrode must be straightened before the fuse can be removed)
3. Inspect the inside of the fuse pipe to ensure cleanliness.
4. Insert a new fuse from one end, and the fuse flared electrode is pre-installed at the handle end. (Picture 2-3)
5. Install the fuse pipe and fasten it with a wrench, the torque is about 5.7 - 8N.m.
6. Flatten the funnel-shaped electrode, install the internal bolts, use one wrench to catch the melt, use another wrench to tighten the end bolts, the torque is about 5.7 - 8N.m, and then unscrew the end bolts, check whether the funnel-shaped electrode is flattened to ensure good contact.
Install plug-in fuses
1. Hook the fuse pipe operation hole with an insulated operating lever.
2. Insert the fuse tube into the fuse seat, rotate the lock hook of the fuse tube by 90°, and tighten the lock to hook the fuse to ensure the seal between the fuse tube seat.
Picture 2-1 | Picture 2-2 | Pictures 2-3 |
Appendix 3 Single-channel sleeve and dual-channel sleeve
Double channel pipe cleaning, lubrication and installation 1. Clean the contact surface of the double-pass casing and the casing seat with reference to the requirements of the single-pass casing, apply grease, and screw the double-pass casing in a clockwise direction until the ratchet idles and makes a sound after tightening. 2. Use a fixing plate to position the double pipe. 3. Use 0. 8mm or equivalent copper wire to connect the grounding hole of the double pipe with the system ground. 4. Install matching parts (such as elbow plugs, lightning arresters or insulation protective caps, etc.). |
|
Single-channel pipe cleaning, lubrication and installation 1. Clean the contact surface of the casing and the tube seat, apply grease, screw into the single-pass casing clockwise, and tighten it with a special tool (seven and a half turns). Note: If the tool is installed with torque, the torque is 13.5N. m. 2. Ground the grounding hole of the single-pass casing with a flexible wire. |
|
Appendix 4 Elbow plug
|
|
Figure 4-1 | Figure 4-2 |
Instructions for installing the elbow plug
1 .Three-core cable split phase treatment
☆ Cut off the inner and outer sheaths at the cable end > 800mm.
☆ Put on branch gloves at the separation phase, heat shrink casing (armor layer grounding) on each single phase wire, see Figure 4-2 for each treatment size.
2 .Elbow plug mounting
☆ Clean the surface of the conductor with a cable brush, put the cold pressed joint on the cable conductor, screw the connecting conductor into the screw hole of the cold pressed joint, and insert the single (double) through casing in the future.
☆ Choose the appropriate crimping tool, crimping should start from the copper and aluminum connection of the cold crimping joint, and rotate 90° for each pressing, and remove excess lubricant with a soft cloth.
☆ Pull out the connecting conductor and screw it down.
☆ Clean and lubricate the cable surface and the inside of the elbow plug, slowly push the cable into the elbow plug, and guide the connection with the shielded connector. The screw hole on the cold pressed joint is visible at the end of the elbow plug.
☆ Screw the connecting conductor into the screw hole of the cold pressed joint and tighten it with a mounting wrench until it is torsional 180. (If.)
With other wrenches, the torque is about 12.4N.m) o
☆ Use insulating self-adhesive tape to wrap the elbow plug and the cable heat shrink sleeve.
☆ Use a grounding wire to connect the ground hole of the elbow plug with the system grounding point.
Load input
☆ Sufficient operating distance should be ensured.
☆ Use an insulated operating rod to hook the elbow plug operating hole.
☆ Align the connecting conductor of the elbow plug with the sleeve conductor and push forward until you feel that it is connected, that is, be sure to push it in place.
☆ The operation should be fast, accurate, decisive and powerful.
Load cut-off
☆ Hook the elbow plug operation hole with an insulated operating lever.
☆ Turn the insulated operating lever left and right to reduce the friction between the casing surface and the elbow plug.
☆ Pull out the elbow plug quickly, accurately, decisively and powerfully, being careful not to touch the conductor with the nearby ground wire.
☆ Hang the elbow plug on the single (double) through connector with an insulated operating lever.
☆ Use the insulation operation lever to cover the insulating protective cap connected to the ground wire on the conductive part.
Notice: The operation of the elbow plug should be carried out by personnel who are familiar with the safety and operating procedures of the power system.
Use elbow plugs to separate loads only in emergency (or special) situations, and it is recommended to use a conforming switch.
Elbow plugs cannot be used to close short circuit faults.
Appendix 5 Single (double) pass fittings and insulation protective caps
☆ Single (double) pass connector is used to plug into a live elbow plug, isolate the live cable, segment it, or use it to plug and pull no
The electrified elbow plug plays a role in dust, water and moisture.
☆ The double-way connector can be connected to an elbow-type plug at one end and an elbow-type surge arrester at the other.
☆ Insulation protective caps provide insulation and protective envelopes for sleeves and joints.
Single (double) pass mounting
1. Remove the transportation protective cap, clean and lubricate {refer to the requirements of single (double) through sleeves}.
2. Use copper wire to connect the single (double) through joint grounding hole with the system ground.
3. Hang the single (double) through joint on the wall hanging and tighten the fixing bolt.
4. Seal the corresponding joints with insulation caps.
Note: All relevant components must be in a state of no power before the single (double) pass connector can be installed and removed.
Insulation protective cap installation
1. Clean and lubricate the outer surface of the joint (or casing) related to the inner surface of the insulating protective cap.
2. Connect the grounding wire of the insulation protective cap with the system ground.
3. Hook the protective cap jack with the insulated operating lever and push the insulated cap into the relevant joint (or sleeve) until it is connected into place.
Remove the insulating protective cap
1. Hook the protective cap with an insulated operating lever.
2. Turn the protective cap left and right to reduce the friction of the contact surface, and pull it back hard to remove the protective cap.
Appendix 6. Fault indicator and live indicator
The fault indicator is installed on the test point of the elbow plug, when the line flows through, the indicator of the fault indicator has white and automatically flips to red, indicating that the line is in the "fault" state at this time, when the circuit returns to normal, the system will automatically reset the indicator window and turn white. The fault indicator has two selectable thresholds, high and low, with a low threshold of about 400A (RMS) and a high threshold of about 800A (RMS). At the time of delivery, the display window of the fault indicator is set in the fault indication (i.e., it is displayed in red), and after installation, when the line voltage reaches 5KV, after a few minutes, the fault indicator is in normal working state, and the display window is automatically reset to the normal state (i.e., it is displayed in white).
Note: Only when the line-to-ground voltage of the line reaches more than 5KV, the fault indicator can perform fault display and reset for energy storage.
The live indicator is installed on the test point of the elbow plug, and the continuous flashing of the indicator light indicates that the line is live to alert the line seeker.
Fault Indicators and Live Indicators are fully sealed products for use in a wide range of climates, and their indication status will not change due to vibration or mechanical shock.
Installation steps:
1. The installation of the indicator is divided into two situations: the cable head is live and not live, under normal circumstances, the cable head should be de-energized and grounded before installation.
2. Remove the protective cap of the elbow plug test point with an insulated operating lever (the test point should be free of stain and rust).
3. Lubrication indicator mounting the inner surface of the boot.
4. Hook the operating hole of the indicator with the insulated operating lever, put the indicator on the test point of the elbow plug, and rotate it to the appropriate position. Warning: Dirty, damp or other faults of the test point or indicator may cause the live indicator to falsely indicate that the line is out of power. at
Before operating the relevant equipment, be sure to use other test methods approved by the national standard to verify whether the line has electricity.